Панель видеодомофона Optimus DSH-1080/1. Цвет белый или черный.
Optimus
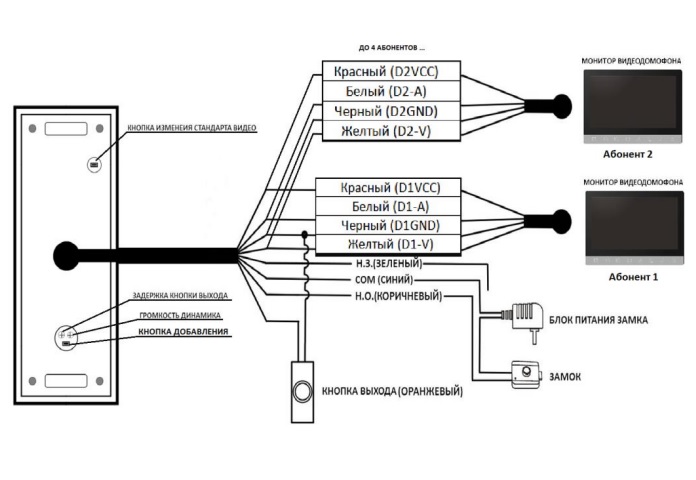
1/2.7” CMOS Sensor, разрешение 1920х1080, количество абонентов - 1. Поддержка стандартов AHD-H 1080P/AHD-M 720P/CVBS 960H, ИК-подсветка до 4м, угол обзора 160°(1080P) / 140°(720P)/110°(960H). Панель имеет встроенную систему контроля и учета доступа (СКУД) с расстоянием срабатывания 30мм и с памятью до 200 ключ-карт. 4-х проводное подключение, питание 200мА макс (9В – 15В DC) от монитора, рабочая температура -40°С до +60°С, размер 133х48х21мм, Антиокислительный / антивандальный корпус IP65. Цвет: черный, белый.
| Система контроля и учета доступа (СКУД) | Есть, EM4100 (EM-marine) |
| Частота СКУД | 125 кГц1 |
| Матрица камеры | 1/ 2.7” CMOS |
| Разрешение | 1920х1080 |
| Тип сигнала | AHD/CVBS |
| Поддерживаемые стандарты | AHD-H 1080P/AHD-M 720P/CVBS 960H |
| Объектив | Фиксированный 2,3 мм |
| Угол обзора | 160°(1080P) / 140°(720P)/110°(960H) |
| Тип подключения | 4-х проводное |
| Чувствительность | 0Лк (ИК подсветка включена) |
| Дальность ИК-подсветки | До 4 метров |
| Реле управления замком | Есть |
| Питание | 200мА макс (9В – 15В DC) от монитора |
| Ток, коммутируемый реле | до 2А / до 30В постоянного напряжения (DC) |
| Контакты кнопки выхода | Есть |
| Подсветка кнопки | Есть |
| Диапазон рабочих температур | Белый/Черный |
| Класс IP | IP65 |
| Габаритные размеры | 133х48х21мм |
| Рабочая влажность | 10% ~ 90% без образования конденсата |
| Тип установки | Накладной |
| Корпус | Антиокислительная/Антивандальная |
| Цвет | Серебро, Черный |

